

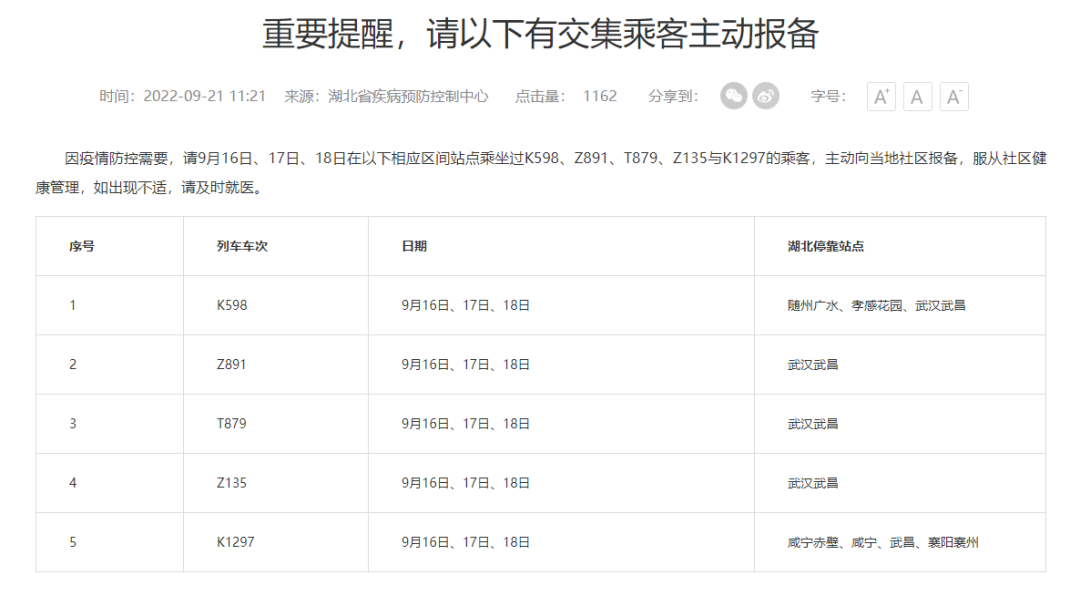
9月21日,湖北省疾控中心连续发布重要提醒,要求乘坐过多列次列车的乘客或有交集的乘客主动报备。由于火车人流量相对较大,乘车环境相对密闭,极易传染病的传播。湖北疾控专家提醒:乘坐火车不大意,做好个人防护,保护自身健康。

一、乘坐火车时
需要注意的四个“风险”环节
01.
上下车时
上下车过程人员密集,火车车厢内环境相对密闭,如果没有做好个人防护,若同车厢人员中存在新冠肺炎无症状感染者,就会存在被感染的风险。
02.
乘车途中
乘车途中,如果摘下口罩喝水或者用餐,不佩戴口罩时间越长,也会增加被感染的风险。
03.
注意手卫生
使用或触碰了使用频率高的设施设备,如:卫生间门把手、饮水机按钮等,又没有及时做好洗手、手消毒等手卫生工作,就会存在被感染的风险。
04.
佩戴口罩
长时间的旅行途中,拉下口罩透气或者没有规范佩戴好口罩,也可能存在被感染的风险。
二、乘车时做好这几点,能够最大可能避免感染风险
01.
全程规范佩戴医用外科口罩
口罩夹夹紧鼻梁,口罩边沿贴紧脸部,进出站及乘坐火车时全程规范佩戴好医用外科及以上级别的口罩。上车前做好必要的准备,如吃饭、喝水等,上车后尽量减少上述行为;旅途时间长的乘客如确需进餐,建议与他人错开进餐,或选择餐车等人流量少的区域单独用餐。
02.
做好手卫生
乘车途中要勤洗手或者用免洗消毒剂清洁手部,特别是在手触碰了座椅扶手、门把手后,要立即用流动的水按照七步洗手法洗手,或者用免洗消毒剂进行快速手消毒。可以选择佩戴一次性手套或者用纸巾触碰门把手等部位。在旅途中,不要用手触碰口罩外表面或触摸口眼鼻,上下车和他人保持安全距离,不扎堆拥挤。
03.
主动核酸检测
核酸检测能够筛查出风险人员,做到早发现、早治疗、早阻断社会传播。建议出行前提前做好核酸检测,到达目的地后,及时报备行程,并尽快主动就近进行核酸检测。在检测结果出来前,尽量不前往公共场所活动。
04.
配合做好各项防疫措施
遵守各项防控政策,按防疫要求配合完成信息登记、流调、核酸筛查和隔离管控等措施。
疫情尚未结束,防疫不可松懈

一键查询
你想了解的疫情防控信息
即可全部拥有
查询方法一
第一步
点击下方卡片
关注“ 湖北发布 ”微信公众号
第二步
在后台输入任一关键词
“返乡、返鄂、防控、政策”

第三步
点击弹出链接
“出行宝 离鄂返鄂人员服务平台”
第四步
进入服务平台后
根据需求可查询
“返乡防控政策”
“区域风险查询”
“抵鄂离鄂政策”
“各地疫情通报”
“新冠疫苗接种”
“核酸查询地图”

查询方法二
关注湖北发布
在对话框底栏点击
“出行宝”进入页面

来源:湖北发布、湖北省疾病预防控制中心
编辑:周密
| 留言与评论(共有 0 条评论) “” |