
根据当前疫情防控形势,为快速有效阻断疫情传播,实现科学精准防控,切实保障辖区内群众生命安全和身体健康,逐步有序恢复正常生产生活秩序,按照《新型冠状病毒肺炎防控方案(第九版)》《贵阳市高风险区疫情防控攻坚指导方案》相关要求,经专家组研判,即日起,将云岩区中高风险区调整如下:
一、中风险区调整为低风险区(共9个)
1.旭东路与巫峰苑、北京东路、百峰巷狮子路及周边的合围区域;
2.莲花巷片区;
3.海马冲路与省计量测试院外围、黔灵山、头桥路的合围区域;
4.黄金路与头桥路、枣山路的合围区域;
5.宝山北路116号;
6.甜蜜小镇南组团;
7.浣纱路与市西河道、市西高架桥合围区域(除浣沙巷2号香狮华龙商住楼外);
8.浣纱路与市西路商业街、瑞金南路、芦花巷2号、妇幼保健院外围、老卫校外围、花溪大道北段、新隆福至如意巷10号合围区域
9.鹿冲关路与半边街、永安寺街、太乙巷、宅吉路的合围区域(除黔灵镇小井组、盐务街道平安小区外)。
以上区域范围及管控要求将根据疫情形势变化适时调整。现将调整后中高风险区汇总如下(以最新公布为准),请严格按照《新型冠状病毒肺炎防控方案(第九版)》有关要求,认真落实风险区调整后有关防控措施。
附件:
1.贵阳市高风险区一览表(2022年9月27日)
2.贵阳市中风险区一览表(2022年9月27日)
贵阳市疫情防控现场处置省市联动指挥部2022年9月27日
附件1
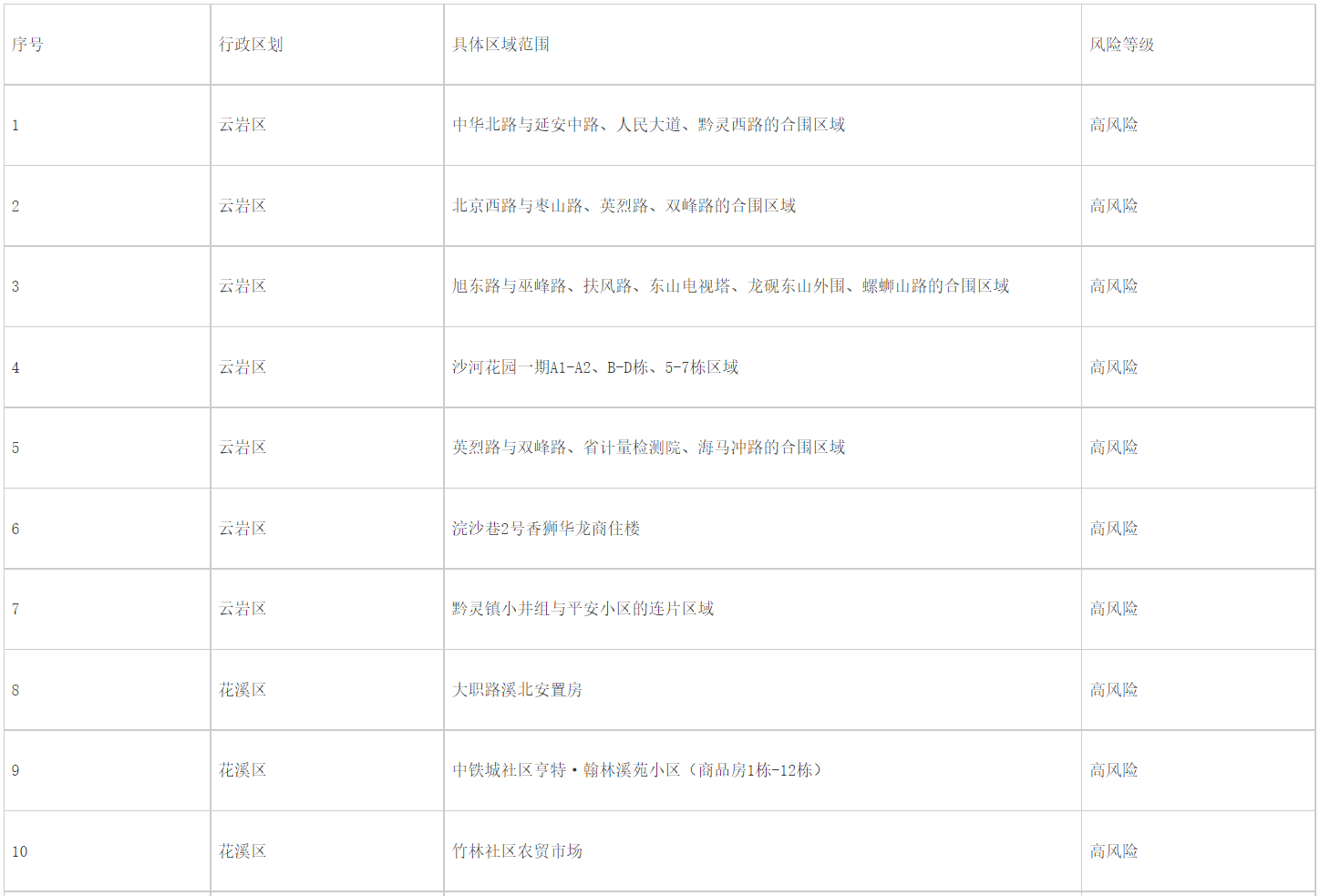
贵阳市高风险区一览表(2022年9月27日)


附件2
贵阳市中风险区一览表(2022年9月27日)


(来源:贵阳市卫生健康局)
| 留言与评论(共有 0 条评论) “” |