手机里面根本没有这个大块头的容身之地,但是这一次,不太一样了

前段时间,机哥在地铁站见到了一台战损成色的 OPPO Find X。


真的非常战损…各种掉漆。


我都不忍心拍下来。


而在看到这台手机之后几天里的另一个新闻,让我有种想要把它重新拿出来用用的冲动。


是这样子的。


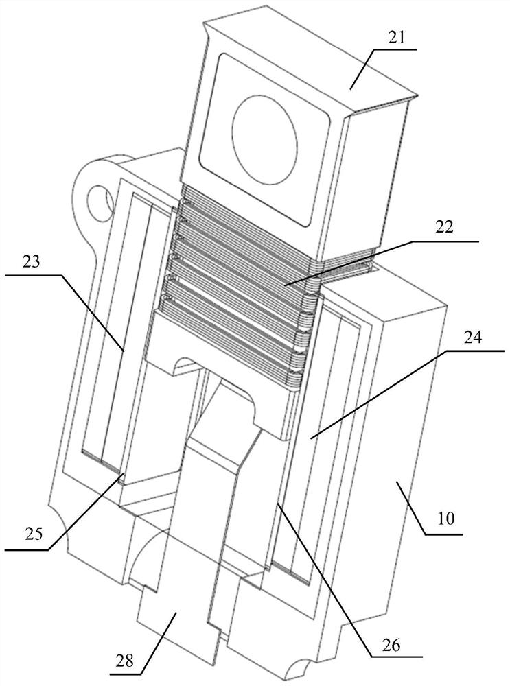
三天前,小米一个专利取得了授权。

手机里面根本没有这个大块头的容身之地,但是这一次,不太一样了

看着眼熟吗?这是个升降摄像头。


专利里面提到,小米用多个线圈以及两块磁铁的组合,降低了升降摄像头结构复杂度,同事实现节省空间的效果。


简单地说,这个模块可以小型化轻薄化,比起之前红米 K30 Pro 时候的那一整组升降摄像头尺寸小了 hin 多。


K30 Pro 的升降摄像头模组

手机里面根本没有这个大块头的容身之地,但是这一次,不太一样了

之前我们说,厂商取消升降摄像头,主要是因为占用空间大,而且重量会进一步提升。


但是如果尺寸缩小,是不是有可能让之前那些神机们都回来呢?


想起那些用升降摄像头的神机,机哥现在还是觉得很馋。


vivo NEX


升降式摄像头的手机,应该可能大概差不多…都得喊 Nex 一声爸爸。


尤其是小米申请专利里面的这种单摄像头升降的技术,vivo 可能是手机厂商里面用得最多,也是最早的。


和机友们不同,机哥第一次见到升降摄像头还是不是 NEX,而是 NEX 的前身 vivo APEX。


机哥是玩过 APEX 真机的人。


vivo APEX

手机里面根本没有这个大块头的容身之地,但是这一次,不太一样了

那会儿,APEX 这颗升降摄像头可谓是让机圈震惊。

手机里面根本没有这个大块头的容身之地,但是这一次,不太一样了

APEX 首次亮相的四个月后,vivo 就发布了 NEX。

手机里面根本没有这个大块头的容身之地,但是这一次,不太一样了

这块完整无缺的屏幕,在当时要么刘海、要么水滴,连三星都还没开始挖孔的时代里,只能说是惊艳。


这才叫颜值嘛!


除了颜值,vivo NEX 配套的功能也 hin 出色。


光线传感器隐藏在屏幕下,距离传感器隐藏在屏幕顶部的黑边里,扬声器用屏幕发声代替。

手机里面根本没有这个大块头的容身之地,但是这一次,不太一样了

摄像头可以支持升降 5 万次,伸出状态下可以承重 45kg。


手机摔下来的时候会自动收回摄像头防止冲击损坏。


作为第一款正式量产的产品,NEX 基本把全部技术都做到了。


于是,在 NEX 之后,vivo 又把这个技术下放到 X 系列里。


vivo X27

手机里面根本没有这个大块头的容身之地,但是这一次,不太一样了

后来又变种出了把前置摄像头和补光灯都做到一块的玩法。


就是这台 vivo X27 Pro。


左边的是 X27 Pro

手机里面根本没有这个大块头的容身之地,但是这一次,不太一样了

除了 vivo,还有一家曾经靠这种技术和一块优秀的屏幕翻身的手机厂商 —— 一加。


一加 7T Pro


在不少加油的心里,一加 7 Pro 仍然是这几代一加手机里面最好看的,没有之一。

手机里面根本没有这个大块头的容身之地,但是这一次,不太一样了

一加 7 Pro,是一加第一款采用 2K 分辨率 90Hz 刷新率屏幕的手机。


而且这块曲面屏和前面的 NEX、X 系列机型一样,保持了高度的整体性。


放到 2022 年,这观感也是一绝。


而这,就是升降摄像头的功劳。

手机里面根本没有这个大块头的容身之地,但是这一次,不太一样了

不过,升降摄像头全面屏这东西,一加只用了一代。


到一加 8 Pro,就回归左上角挖孔屏了。


就挺遗憾的。

手机里面根本没有这个大块头的容身之地,但是这一次,不太一样了

那会儿,除了 vivo NEX、一加这种旗舰机在用升降摄像头,红米、荣耀两三千块钱的手机也在用。


红米 K20 Pro/K30 Pro&荣耀 9X


红米 K20 Pro 和红米 K30 Pro 这两代,都是升降摄像头的产品。


而且,这俩都采用了直屏设计,三窄边,就是下巴略微宽一些。

手机里面根本没有这个大块头的容身之地,但是这一次,不太一样了

每次看着顶部这个摄像头慢悠悠伸出来,总有一种舒适感。

手机里面根本没有这个大块头的容身之地,但是这一次,不太一样了

不过,这两款机子里面机哥更喜欢 K20 Pro,背面好看一些。

手机里面根本没有这个大块头的容身之地,但是这一次,不太一样了

至于荣耀 9X 系列,倒是和 vivo NEX 长得很像。


正面直屏,背面左侧长条形的摄像头。

手机里面根本没有这个大块头的容身之地,但是这一次,不太一样了

除了上面这些单摄像头升降的手机之外,那会儿还有一个异类。


就是一开始提到的 OPPO Find X。

手机里面根本没有这个大块头的容身之地,但是这一次,不太一样了

啊,也不只是 OPPO Find X,那会儿整个 OPPO 品牌的升降式摄像头都很有个性。


有一种,设计能力溢出的感觉,和前面这些手机全部都不一样,而且是完全彻头彻尾不一样的类型。


来看看。


OPPO Find X


Find X 用的是双轨潜望结构,可以在 0.6s 内完成升降,并且拥有 30 万次的升降使用寿命。

手机里面根本没有这个大块头的容身之地,但是这一次,不太一样了

正反曲面屏,COP 封装,边框超窄。

手机里面根本没有这个大块头的容身之地,但是这一次,不太一样了

而在这个升降结构里面,OPPO Find X 还用上了国产安卓手机首次使用的 3D 人脸识别。

手机里面根本没有这个大块头的容身之地,但是这一次,不太一样了

啊不过,Find X 这种极端的设计也有缺点。


相较于其它的升降式摄像头,它会限制后置摄像头的性能。


这机子只用了 1600 万像素主摄+2000 万像素辅助摄像头的组合,成像品质并不算好。


在 Find X 之后,OPPO 又发布了另一款完全不一样的升降摄像头机型 —— OPPO Reno。

手机里面根本没有这个大块头的容身之地,但是这一次,不太一样了

这一次,OPPO Reno 的升降结构叫 —— 「侧旋升降」。


从右侧拉起一条缝,前置摄像头就从这里翘起来。


正面也从曲面屏变成了直屏,一样是三面窄边框。

手机里面根本没有这个大块头的容身之地,但是这一次,不太一样了

而且,第一代 Reno 的背面设计也 hin 好看。

手机里面根本没有这个大块头的容身之地,但是这一次,不太一样了

齐平的三摄像头,微微凸起的小圆点可以在一定程度上防止后置摄像头被磨花。


在这两代机型里,喜欢曲面屏的人会觉得 Find X 是 OPPO 手机的颜值巅峰,喜欢直屏的会觉得 Reno 是 OPPO 手机的颜值巅峰。


大家都能找到喜欢的设计。


看看现在…


看到这儿,你是不是很想问一句:


为什么这些升降摄像头的手机会慢慢消失,留下现在这些手机呢?


这一点机哥之前分析过。


因为啊,在手机从 4G 迈进 5G 时代后,他们的内部结构就变了。


5G 需要更多的空间来塞天线。


5G 耗电更高需要更多空间来塞电池。


5G 发热更强需要更多空间来塞散热。

手机里面根本没有这个大块头的容身之地,但是这一次,不太一样了

接着,由于手机需要持续的升级以及创新,其他元器件也变多了。


摄像头变大了、充电需要用的各种元器件变多了,有些机型还会多塞一块显示芯片、影像芯片、电源芯片、NPU 芯片。


这时候你再回过头看看之前那个那么大一块的升降摄像头模组。

手机里面根本没有这个大块头的容身之地,但是这一次,不太一样了

手机里面根本就没有这个大块头的容身之地。


但是嚯!


这一次,不太一样了。


小米把升降摄像头的尺寸给做小了,体积也做小了,结构也做简单了。


结构简单意味着稳定,体积尺寸做小了,意味着…手机可能就能装得下这东西了。

手机里面根本没有这个大块头的容身之地,但是这一次,不太一样了

而且机友们再琢磨琢磨,现在的手机不用升降摄像头都冲着 9mm 去了,8mm 就算薄,200g 就算轻。


那…在这个基础上再多塞一个升降式前置摄像头,享受一块 2K 分辨率 120Hz 真全面屏,同时自拍效果完全不需要担心。


不也是个不错的解决方案吗?


这段时间,机哥也偶尔能从评论区看到夸之前的手机好看的,希望厂商在屏下还不成熟之前重新再做一些全面屏手机。


反正都得厚重,还不如做好看一点,对不对?

发表评论
留言与评论(共有 0 条评论) “”
   
验证码:

相关文章

推荐文章