苹果AR/VR专利揭示手指追踪操控设备

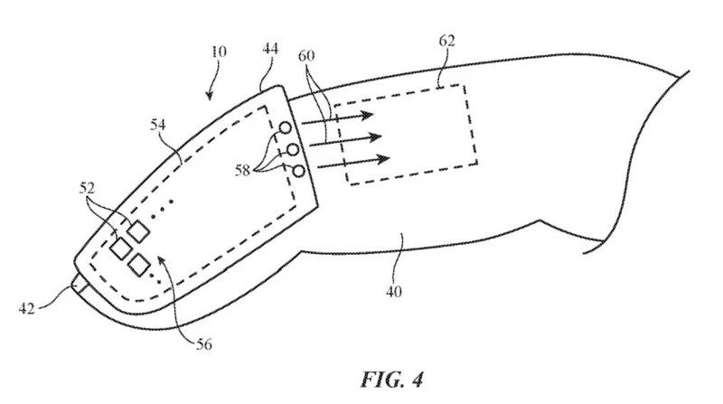
据iMore报道,苹果向美国专利局提交的一份编号为“11,360,558”的专利揭示了一个类似“针箍”(thimbles)戴在用户手指上的设备,旨在操控虚拟现实和混合现实体验,并与其中的物体进行交互。

苹果AR/VR专利揭示手指追踪操控设备

该专利描述了由电容式触摸传感器、摄像头以及跟踪光学和超声波数据的传感器所组成的一维和二维传感器元件阵列,以跟踪力和惯性运动。从本质上讲,基于该手指追踪设备,用户将能控制3D空间中所有可交互对象——功效等同于AR/VR环境下的鼠标,或VR手柄,但区别的是,手指追踪设备简化了基于元素,以便更适用于用户手指,从而支持手势、动作和空中输入。

根据专利内容,手指追踪设备兼容“头戴式设备”,支持头戴式设备查看包括触觉反馈在内的互动体验,以帮助用户了解数字世界交互存在感;另外,专利还描述了AR连接系统如何识别现实世界的物体以及与手指追踪设备的交互作用,并基于头显将旋转和角度等信息覆盖至物理物体上,值得注意的是,由于用户手指指尖暴露在外——这可能是为了更便捷与iPhone、MacBook等触摸屏设备互动,从而定位用户手指追踪设备。

种种迹象表明,苹果正处于进入AR/VR领域的风口浪尖,Meta、索尼、Snap等公司都在押注元宇宙,毫无疑问,创新将是脱颖而出的关键。

与苹果手指追踪设备设计思路不同,Meta正朝支持手势的手部追踪方向深入研发,该追踪基于头显板载摄像头和空间传感器以识别用户手部和手指并进行相应追踪。

值得一提的是,目前还没有任何系统能够提供与手持设备所能提供的精确度相同的控制,苹果手指追踪专利似乎结合了这两种解决方案——该设备小到足以让人忽视却能使人沉浸MR环境之内,同时又提供了基于传感器及相关追踪技术的增强追踪功能以实现手指追踪。

「93913原创内容,转载请注明出处」

发表评论
留言与评论(共有 0 条评论) “”
   
验证码:

相关文章

推荐文章