苹果智能戒指获2项专利 配合VR设备使用

6月15日,据外媒消息,根据苹果提交的两个最新专利——"带有手指装置的计算机系统"和”计算机系统手指装置的部署系统”,指出这两个专利是关于智能戒指及其其制作方法的,说明苹果一直在研究智能戒指。

苹果智能戒指获2项专利 配合VR设备使用

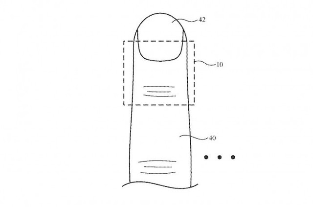
苹果智能戒指是用来做什么的呢?专利内容显示,用户在观看虚拟内容时,戒指会识别手指动作,可以隔空敲打AR虚拟键盘,还可以用手指操控虚拟空间内的可移动物体。你甚至可以与真实世界的物体互动,但仅限于计算机生成的虚拟内容,它们会覆盖在一些现实物体上,需要配合一些智能显示才能看到。

苹果智能戒指获2项专利 配合VR设备使用

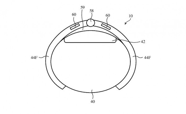
此外,第二项专利显示,苹果研究了智能戒指与AR或其他系统的通信功能,比如VR眼镜,通过无线通信电路可向系统中的其他设备提出连接申请。戒指中的传感器电路(应变仪、加速度计和/或其他传感器电路)可以监测手指的移动输入动作。

苹果智能戒指获2项专利 配合VR设备使用

另外,苹果还表示有一个专门的底座是用来放戒指的,可以为戒指进行无线充电。你期待这款智能戒指的问世吗?

(7948024)

发表评论
留言与评论(共有 0 条评论) “”
   
验证码:

相关文章

推荐文章