从零开始的软路由之爱快docker搭建emby

缘起

上期介绍了爱快如何开启Samba服务,用到了一块移动硬盘,相信大家也不会在移动硬盘里面放重要的东西,最多就是拿来做一下中转和装一些临时文件或者影音文件吧,由于这块硬盘是直接连接在爱快上的,还可以有其他的用处,比如可以装一个nas用户很喜欢的有海报墙的媒体管理软件——emby,来炫酷的管理你的影音资源。

折腾

要安装emby嘞首先需要开启爱快的docker插件功能,爱快的这个功能需要在云端下放,所以这个时候就需要注册一个爱快云账号,并将其与你的爱快软路由绑定才可以开启。首先回到爱快的后台管理页面,在右上角有一朵云形状的按钮如图所示,点击它进入到绑定界面。

从零开始的软路由之爱快docker搭建emby

进入到绑定界面后,输入手机号,获取到验证码填写上去,没有注册过爱快云手机号会自动注册。确认信息无误后点击“保存”按钮,会出现绑定成功的字样,这时候点击下面的“进入爱快云平台”如图示进入到爱快云的登录界面,选择验证码登录,输入手机获取验证码后登录进爱快云。

从零开始的软路由之爱快docker搭建emby

从零开始的软路由之爱快docker搭建emby

登陆进到爱快云后,点击切换到“插件应用”选项卡,按照图示点击“安装”会弹出一个选项框,按照图示点击设置,点击“确认”后回到爱快管理页面,按图示依次点击“高级应用——插件管理”就可以看到那个熟悉的图标了。

从零开始的软路由之爱快docker搭建emby

从零开始的软路由之爱快docker搭建emby

从零开始的软路由之爱快docker搭建emby

从零开始的软路由之爱快docker搭建emby

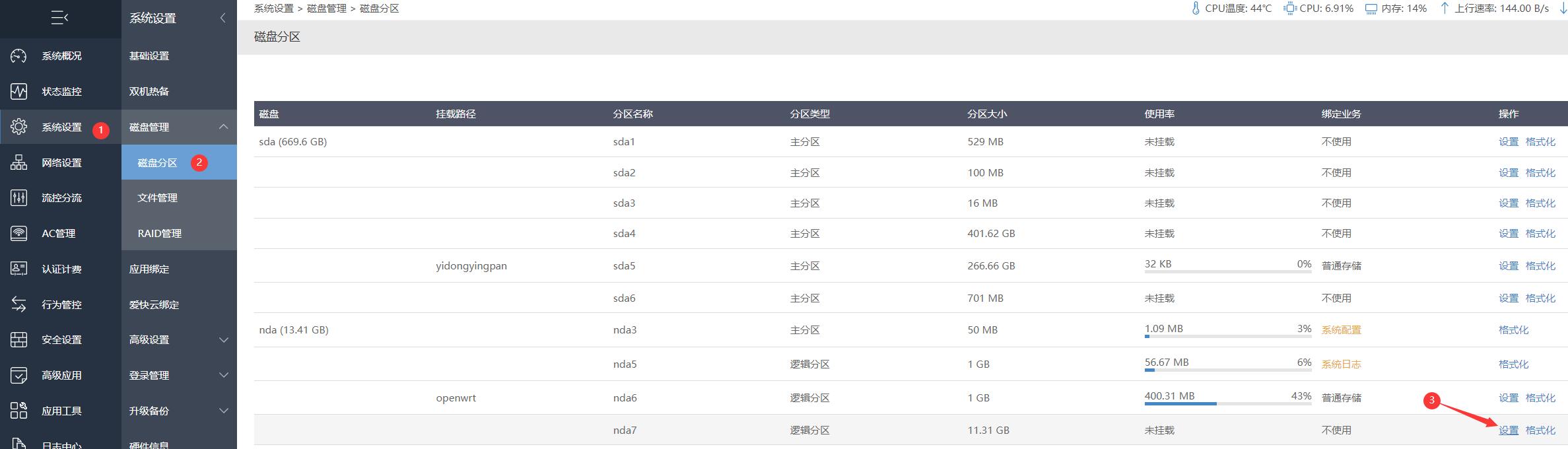
在设置docker之前,我们要先去新建一个储存分区用来存放docker的文件,按图示依次点击“系统设置——磁盘管理——磁盘分区”进入到分区界面,看过上次的教程应该对这个界面不陌生了,我们把上次分区后剩下没有用上的那个磁盘挂载上。按照图示点击“设置”,弹出的选项卡上绑定业务选择“普通储存”,路径随意能记住就行,点击“确定”后会提示格式化,再次确认完成格式化即可。

从零开始的软路由之爱快docker搭建emby

从零开始的软路由之爱快docker搭建emby

建立好分区后我们回到docker界面,点击docker图标,进入到下个界面,按图示点击服务设置,储存分区选择刚才新建的分区,镜像库可以填写个国内的https://docker.mirrors.ustc.edu.cn最后点击确认会提示你会重启docker,再点击确认即可。设置好后打开docker开关,docker服务就启动了。

从零开始的软路由之爱快docker搭建emby

从零开始的软路由之爱快docker搭建emby

从零开始的软路由之爱快docker搭建emby

如图示,切换到镜像管理选项卡,点击右侧的“添加”按钮进入到下个页面。按照图示,选中“ 镜像库下载”,搜索框输入“emby”搜索,这里提一嘴,不知道是我设备的问题还是爱快软件的问题,在docker里面所有的输入框,只要一使用键盘就会退回到docker界面,这个bug太烦了,只能在其他地方输入文本在粘贴进输入框才好使,如果遇到这种情况就克服下吧…搜索出结果后安图示选择那个星级最多的amd64版本的,下载最后那一版,点击下载后会出现个进度框,耐心等待下载完成即可,下载速度可能会比较慢。

从零开始的软路由之爱快docker搭建emby

从零开始的软路由之爱快docker搭建emby

从零开始的软路由之爱快docker搭建emby

从零开始的软路由之爱快docker搭建emby

如图示,切换到接口管理选项卡,点击右侧的“添加”按钮进入到下个页面。按照图示格式填写名称和ip地址。

从零开始的软路由之爱快docker搭建emby

从零开始的软路由之爱快docker搭建emby

如图示,切换到容器列表选项卡,点击右侧的“添加”按钮进入到下个页面。首先点击“高级设置”会出现隐藏的高级选项,点击“文件管理”在docker目录下新建一个文件夹来放emby的配置文件,这样以后需要安装插件的时候就不用费劲的找目录了,而且就算删除了容器只要配置文件夹还在就可以很容易的恢复配置。剑豪文件夹后复制文件夹路径备用。

从零开始的软路由之爱快docker搭建emby

从零开始的软路由之爱快docker搭建emby

从零开始的软路由之爱快docker搭建emby

回到添加容器的界面,按照图示根据自己的实际情况填写好名称、内存、镜像、网络接口等基本参数,将开机自启勾选上,在高级设置里挂载目录源地址填写刚才新建的文件夹路径,目的路径填写/config,相当于将emby的config目录映射到我们刚建立的文件夹。同样的道理再根据图示添加一个媒体文件夹。确认无误后点击保存。至此emby的docker容器创建就完成了,接下来就是emby的初始化设置。

从零开始的软路由之爱快docker搭建emby

从零开始的软路由之爱快docker搭建emby

在浏览器地址栏输入刚才设置的emby地址加上端口8096就可以打开emby了,例如如果是按照我刚才的设置就是在浏览器中打开192.168.11.2:8096就能看到久违的emby设置界面。对于之前接触过这类软件的小伙伴应该很熟悉这个设置了。第一个页面让你选择语言,按照图示选择简体中文即可。下一个页面是创建账户的页面,按照图示填写即可。再下个界面是新建媒体库,由于还未初始化软件界面全是英文对于不熟悉的小伙伴容易选错,我们后面再来设置直接点击下一步跳过这个界面。

从零开始的软路由之爱快docker搭建emby

从零开始的软路由之爱快docker搭建emby

从零开始的软路由之爱快docker搭建emby

来到下个界面是选择首选元数据语言的,按照图示选择简体中文和中国,再下个界面保持默认点下一步即可。到下个页面是让你同意他们的条款,按照图示勾选条款再点下一步,到下个界面就是初始化的最后一步了,点“finish”完成初始化设置。

从零开始的软路由之爱快docker搭建emby

从零开始的软路由之爱快docker搭建emby

从零开始的软路由之爱快docker搭建emby

从零开始的软路由之爱快docker搭建emby

完成初始化后,会来到登录界面,输入刚才设置的密码就可以登录进emby了,发现并没有想象中的海报墙,那是因为我们还没有添加媒体库,于是马上来添加个媒体库吧。首先按图示点击右上角的设置按钮,在新界面按图示依次点击“媒体库——新媒体库”,弹出的界面,根据实际情况选择内容类型,显示名称,再点击添加文件夹,按照图示选择“video”点击确定。再根据图示选择元数据的语言为中文,其余设置没有特殊情况默认就可以了。点击“确定”媒体库就建好了,

从零开始的软路由之爱快docker搭建emby

从零开始的软路由之爱快docker搭建emby

从零开始的软路由之爱快docker搭建emby

从零开始的软路由之爱快docker搭建emby

从零开始的软路由之爱快docker搭建emby

回到首页就能看到文件夹里的电影以海报墙的形式呈现出来了,我这里由于没有安装刮削器所以信息显示的不完整,安装各种刮削器或者导入刮削好的资源就可以拥有完整体验。

从零开始的软路由之爱快docker搭建emby

这是安装了豆瓣刮削器刮削出来的效果。

从零开始的软路由之爱快docker搭建emby

从零开始的软路由之爱快docker搭建emby

总结

虽然爱快的docker在部署体验上有点不尽人意,不过基本功能还算完善,部署一些简单的应用还是可以胜任的,这样移动硬盘+docker emby的方式我用了很久测试下来也是很稳定的,较之于 all in one主机,虽然功能简陋了点,但该有的都有,对于轻量应用设够用了,docker还有很多可以折腾的地方,这个先放一放,下期来介绍爱快的虚拟机安装windows系统,想必还是有很多小伙伴需要一台可以随时待命的远程电脑的。

从零开始的软路由之爱快docker搭建emby


发表评论
留言与评论(共有 0 条评论) “”
   
验证码:

相关文章

推荐文章