金立公司被列入老赖名单,董事长被限制高消费


金立公司被列入老赖名单,董事长被限制高消费

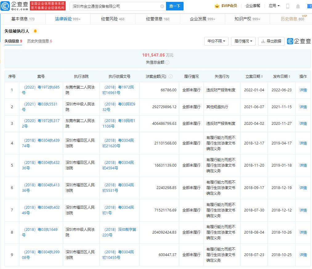
Tech星球6月27日消息,近日,深圳市金立通信设备有限公司被东莞市第二人民法院列为失信被执行人,涉案金额66786元,具体情形为违反财产报告制度,关联案件涉及买卖合同纠纷,该公司董事长、法定代表人刘立荣被限制高消费。

金立公司被列入老赖名单,董事长被限制高消费

企查查信息显示,目前该公司共有9条失信信息,失信总金额超10亿元,此外,该公司有终本案件记录65条,未履行总金额超12亿元。

金立公司被列入老赖名单,董事长被限制高消费


金立公司被列入老赖名单,董事长被限制高消费

发表评论
留言与评论(共有 0 条评论) “”
   
验证码:

相关文章

推荐文章