两家支付机构收到法院限制消费令

两家支付机构收到法院限制消费令

随着支付行业市场环境的变化,有些中小支付机构因竞争力不足而陷入了困境。


撰文 | 张浩东

出品 | 支付百科


近日,「支付百科」注意到,又有两家持牌第三方支付机构收到了法院的限制消费令,其中一家互联网支付机构被执行标的更是超过8亿。


01


多家支付机构曾受限


在一起民间借贷纠纷一案中,因未按执行通知书指定的期间履行生效法律文书确定的给付义务,泉州市中级人民法院相关法律法规,对中联信(福建)支付服务有限公司(以下简称“中联信支付”)实施限制消费令。

两家支付机构收到法院限制消费令

在一起劳动争议案件中, 因未按执行通知书指定的期间履行生效法律文书确定的给付义务,重庆市渝北区人民法院对重庆易极付科技有限公司(以下简称“易极付”)实施限制消费令。

两家支付机构收到法院限制消费令

据「支付百科」了解,中联信支付与易极付均为持牌第三方支付机构,中联信支付持有预付卡发行与受理牌照,业务范围为福建省,在去年12月份顺利通过了支付牌照的续展。易极付则持有全国互联网支付牌照,与中联信支付为同一批进行牌照续展的机构。


支付机构收到法院限制消费令的情况如今并不少见,除了此次被限制消费的中联信支付与易极付外,广东汇卡商务服务有限公司、商银信支付服务有限责任公司都曾收到过类似限制。


限制消费令是法院对失信被执行人所做的处罚。根据《最高人民法院关于修改〈最高人民法院关于限制被执行人高消费的若干规定〉的决定》修正,被执行人未按执行通知书指定的期间履行生效法律文书确定的给付义务的,人民法院可以采取限制消费措施,限制其高消费及非生活或者经营必需的有关消费。


频繁收到法院限制消费令的支付机构,大多都是多次被法院列为失信被执行人,比如广东汇卡商务,仅仅在4月份就十几条失信被执行信息,近几个月的被执行总金额更是达到了850万元,或多或少反映出这类机构存在着一些问题。


02


4亿股权被冻结


相较于持有预付卡牌照的中联信支付而言,拥有互联网支付牌照的易极付市场关注度更高。公开资料显示,易极付成立于2011年,注册资本1亿元人民币。


易极付的业务主要是面向各类交易平台、公共事业性收费、各类基金、各类B2C类网站、集团性企业,以及个人用户提供互联网络支付和移动支付服务。


近期,易极付发生了一系列工商变更,法定代表人张耀元退出,由曲国宁接任,同时兼任执行董事兼经理。此外,魏开庆退出了易极付的股东行列。


企查查显示,易极付的大股东为重庆市博恩科技(集团)有限公司,持有其99%的股份,北京新晋华集成数据有限公司则持有其1%的股份,不仅易极付有多条风险提示,博恩科技同样面临着许多麻烦,多次被限制高消费。

两家支付机构收到法院限制消费令

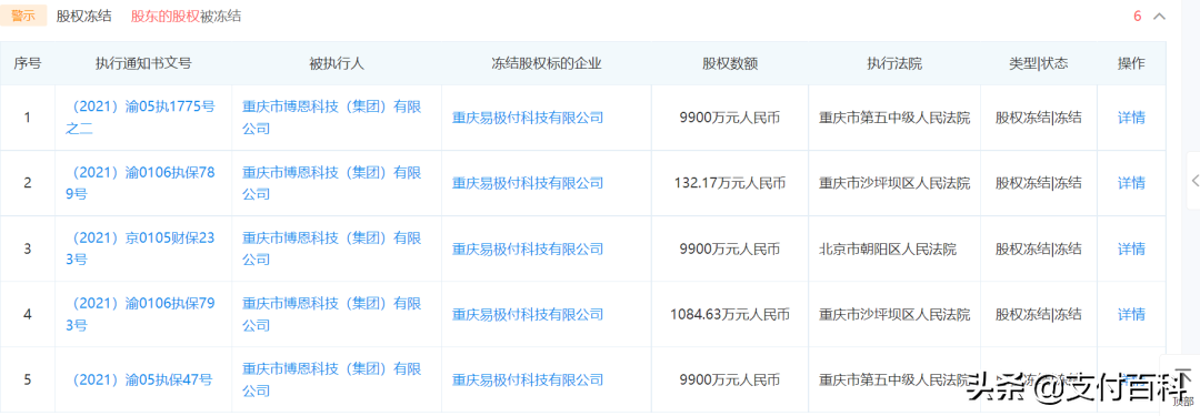
目前,易极付共有5条被执行人记录,被执行总金额高达8.27亿元,其中在一起与金融借款合同纠纷有关的案件中,易极付的执行标的为7.73亿。除了被执行信息外,易极付还有超过4亿元的股权遭到冻结。


2020年3月份,易极付因未真实、完整、准确反映网络支付交易信息、未按规定落实有关风险管理措施、未按规定存放客户备付金等,被中国人民银行重庆营业管理部罚款30万。


央行对于易极付的处罚,并非没有原因。一份判决文书显示,易极付曾卷入了一起走私案,虽然监管部门未发现易极付存在违反支付机构互联网支付相关管理规定的情况,但易极付的确在特约商户管理、内部系统控制等方面有一定的隐患。


对于易极付来说,续展了支付牌照只是完成了一个小的任务,面对着大量的被执行信息和司法案件,还有上亿元被冻结的股权,若不能很好地解决,也将对易极付开展支付业务造成阻碍。

两家支付机构收到法院限制消费令

发表评论
留言与评论(共有 0 条评论) “”
   
验证码:

相关文章

推荐文章