探营真实生物,阿兹夫定片的争议与希望

探营真实生物,阿兹夫定片的争议与希望

国内首款新冠治疗口服药物审批结果公布在即,真实生物的阿兹夫定片是否首个获批,成为争论焦点。

新冠疫情走过三年,至今未有完全结束的迹象。

作为新冠肺炎治疗产业链上的最后一环,首款新冠口服药的审批进程备受关注。新冠病毒蔓延速度快、波及范围广,因此需要具备可快速量产、普及性强和性价比高等特点的药物。

截至今年6月底,全球有两款小分子新冠口服药被批准上市,一个是默沙东的Molnupiravir(莫纳皮拉韦),另一个是辉瑞制药(0Q1N.L)的Paxlovid(帕克洛维德)小分子口服药,后者在今年2月得到中国国家药监局附条件批准。

中国尚未有自主研发的防治新冠口服药获批上市,但有实质性进展的药物和药企之间,竞争已相当激烈。

目前国内有10款以上新冠口服药项目在进行中,其中有3款进展最快:真实生物的阿兹夫定(Azvudine)已经完成中国、巴西和俄罗斯三期临床,开拓药业(9939.HK)的普克鲁胺4月6日公布了美国三期临床数据,君实生物(688180.SH)研发的VV116小分子口服新冠特效药,三期临床试验中,和p药头对头数据已公布。

目前来看,首款新冠口服药基本锁定在这三款药物之中。

投资界目前关注的焦点是,此前用于艾滋病治疗的阿兹夫定治疗新冠的实际效果如何?运营者一些结构性的商业瑕疵,是否会影响审批的前景?

6月29日,国家药品监督管理局境内生产药品备案信息,公布了阿兹夫定片已备案的消息。阿兹夫定片生产单位,原仅有北京协和药厂,现已新增河南真实生物科技有限公司(以下简称“真实生物”)。

真实生物也是阿兹夫定片的上市许可持有人,如今获得了阿兹夫定片的生产许可资质。这意味着,真实生物既可以自己生产阿兹夫定片,也可以把部分产能外包,委托其他药企生产。

探营真实生物,阿兹夫定片的争议与希望

境内生产药品备案信息公示,来源:国家药品监督管理局

6月30日,国家药品监督管理局药品审评中心(CDE)“上市药品信息”公示了真实生物阿兹夫定片的申请上市技术审评报告和说明书。

探营真实生物,阿兹夫定片的争议与希望

申请上市技术审评报告和说明书公示,来源:国家药品监督管理局药品审评中心

01 作为艾滋病治疗的前身

最初作为艾滋病治疗的阿兹夫定,是由河南师范大学常俊标教授发明,后由真实生物、郑州大学、河南师范大学、河南科学院高新技术研究中心共同研发。阿兹夫定的自主知识产权,也归真实生物所有。

新冠疫情爆发后,真实生物开始对阿兹夫定在新冠肺炎治疗中的应用,进行临床研究。

探究阿兹夫定的研发背景,还得从20世纪90年代的“非法血站”说起。90年代初,各地血库血浆缺口很大,于是全国各地都开起了采血站。

一时间,血站疯狂采血、农民拼命卖血,成为当时一个特殊的现象。仅河南一省,血站就超过了230家,其中驻马店就有39家。

由于血站大量不规范采血,针头和输血装置被重复使用,导致艾滋病毒疯狂蔓延。公开数据显示,河南有上万人因为卖血感染了艾滋病。

艾滋病在河南大量发生,由于没有国产药物,艾滋病患者只能选择使用进口药。价格昂贵不说,副作用也比较大。2004年,常俊标团队经过深入和长期的研究,研制出自有知识产权的抗艾滋病药物。

药物研发过程是一个艰辛的过程,需要不断、反复地试验,研发条件也十分重要。

艾滋病毒体外活性筛选必须要在具备生物三级防护标准的P3实验室进行,合成大量化合物来进行体外活性和毒性的实验。由于国内缺少相关的实验室,研发往往因此而停滞。

受限于高研发风险,常俊标团队很难找到同时具备投资意愿和实力的支持方。

2012年,真实生物向常俊标团队抛来橄榄枝,独家投资阿兹夫定,还为其开发设立了专门的合作平台。经过三期临床试验,阿兹夫定终于得以面市。

2021年7月,真实生物自主研发的抗艾滋病1类新药阿兹夫定片获批上市。

该药与核苷逆转录酶抑制剂及非核苷逆转录酶抑制剂联用,用于治疗高病毒载量(HIV-1 RNA≥100000 copies/ml)的成年HIV-1感染患者。

作为新型核苷类逆转录酶和辅助蛋白Vif抑制剂,阿兹夫定片通过优先审评审批程序,获附条件批准上市。

阿兹夫定的原理,是通过抑制HIV、HCV、EV71等RNA病毒复制,来实现对抗病毒的目的。

根据常俊标的发言可知,阿兹夫定具有三大特点:一是阿兹夫定的靶向性很强,并且长效。

二是可解决部分患者产生耐药性的问题,与现有市场药物如3TC(拉米夫定)等,不产生交叉耐药性。

三是双靶向药物不仅可以阻断逆转录酶,还能抑制艾滋病毒的Vif辅助蛋白。

根据国家药品监督管理局药品审评中心,2022年6月公布的阿兹夫定片申请上市技术审评报告显示:统计学审评结论为,建议临床审评部门 关注申请人拟定的事后非劣效界值10%或5%的临床合理性。

由于申请人事先未明确研究设计,未建立明确的研究假设,未考虑多重性问题等,虽然给出了事后非劣效界值并进行了非劣效检验,但已经导致进行统计推断的先决条件缺失,仅能对其分析结果进行复核,建议临床审评部门对分析结果进行综合评价。

有业内人士根据这个结论看,认为阿兹夫定的药效也并不是想象中那么好。

02 疗效如何?

根据目前的研究进展,阿兹夫定不只适用于艾滋病毒,还适用新冠病毒和手足口病毒的治疗。

早在2020年初新冠病毒爆发时,一些被筛选出来的抗病毒药物,就被投入到治疗一线。

中国临床实验中心官网显示,2020年2月15日,一项注册题目为“阿兹夫定片治疗新型冠状病毒感染肺炎(COVID-19)的随机、开放、对照临床试验(注册号ChiCTR2000029853)注册成功,总入组人数为20人,研究实施时间合计2个月。

2020年10月,常俊标在Nature子刊《Signal Transduction and Targeted Therapy(信号传导与靶向治疗)》发表了标题为《Azvudine(FNC):a promising clinical candidate for COVID-19 treatment(阿兹夫定(FNC):一种有前途的 COVID-19 治疗临床候选药物)》的论文,介绍了这项研究的结果。

该研究的初步临床实验的结果较为理想:在实验组10例患者当中,4天内第一次核酸转阴率达到90%,相较而言,常规治疗组4天内第一次核酸转阴率仅仅10%。

更值得一提的是,实验组中有一位患者入院治疗了20多天,采用很多方案核酸检测均未转阴,而在服用了阿兹夫定药物后的第五天,核酸检测就转为了阴性。

在2022年4月16日举办的中国医药发展大会上,中国医学科学院学部委员、中国工程院蒋建东院士根据之前20人临床数据对阿兹夫定的临床药效进行了说明:患者口服用药3-4天核酸转阴,平均用药时间6-7天,平均9天出院。

并且,与其他药物不同的是,阿兹夫定对多日用其他药物无效的病人也同样有效,对重症与轻症的治疗效果相似。

同时,蒋建东院士也介绍了相关进展:2020年2月阿兹夫定被发现可以用于新冠病毒治疗后,当年4月中国国家食品和药品监督管理局(SFDA)批准了阿兹夫定的抗新冠三期临床试验,目前已结束。俄罗斯和巴西结果已经报批。

探营真实生物,阿兹夫定片的争议与希望

蒋建东院士发言,来源:中国医学发展大会

03 定价如何?

新冠病毒本身,是一种单股正链的RNA病毒,当其进入宿主细胞后,其刺突(S)蛋白与人体细胞受体ACE2结合,会释放出病毒RNA。

病毒RNA在宿主细胞中的核糖体翻译成两条多聚蛋白pp1a和pp1ab,这两种多聚蛋白被3CLpro和PLPro切割,裂解为多种新冠病毒所需的非结构蛋白(NSP)。

NSP在3CL蛋白酶和PL蛋白酶的作用下拆装再重组,形成具有功能结构的蛋白。3CL蛋白酶抑制剂可以抑制3CL蛋白酶的活性,起到干扰病毒复制过程并达到抗病毒的作用。

辉瑞制药开发的Paxlovid是全球第一款针对新冠病毒的口服3CL蛋白酶抑制剂,属于小分子口服新冠药。

在其三期临床结果中显示,轻中度新冠患者在确诊三天内服用此药,住院或死亡风险可降低约89%。Paxlovid在新冠治疗中的表现,不仅可以与抗体治疗相媲美,还显著优于默沙东的Molnupiravir约50%。

当前所有新冠口服药物,只有作用于3CL蛋白酶靶点的Paxlovid的治疗效果相对最好,因此得以在国内获批。

但从美国国家过敏症和传染症研究所所长安东尼·福奇的个人治疗经历看,他在接受辉瑞抗病毒口服药治疗后,经历了比第一次阳性情况更为糟糕的“症状反弹”。

有些患者在经历5天Paxlovid疗程治疗后,抗原检测为阴性,病情也有所好转。但几天后抗原检测再度变为阳性,新冠的症状也再次复发。

虽然Paxlovid在美国被授权用于治疗新冠肺炎的治疗,但在新冠病毒感染初期回复后的2-8天内,重新复发、检测复阳的情况出现的频率越来越多,发展成重症的风险也越来越大。

从作用靶点来看,阿兹夫定作用于RdRp(RNA聚合酶),与辉瑞的Paxlovid作用于3CLpro(3C-like protease )不同,但与默沙东的Molnupiravir相似。

不同的靶点各有利弊。奈玛特韦可阻止复制,但不能清除;阿兹夫定可以清除,但不能阻止复制,所以两个药物都采用A+B组合方案来解决自己短板。

Paxlovid的A+B方案,即PF-07321332 (也叫奈玛特韦)+利托那韦的组合;而阿兹夫定则使用阿兹夫定+可利霉素构建组合方案。

另外,单纯从定价看,阿兹夫定片有极大的比较优势。

根据已公布的数据,辉瑞的Paxlovid在美国地区的采购价格,为每疗程529美元,约合人民币3560元,且Paxlovid被临时性纳入了中国医保支付范围后,采购价格为2300元/疗程,依旧偏高。

根据北京日报报道,真实生物专家在会议中曾透露,阿兹夫定治疗新冠的单个疗程为7天,每天5毫克使用量,一个疗程35毫克。

对应目前艾滋病用药的定价,治疗新冠单个疗程对应价格仅为900元。一旦规模量产,原材料药还将进一步下降,可降低至40万/公斤。

对应原料同比例下降,单个疗程仅需240元。一旦上市后,预计定价最多只有辉瑞Paxlovid的1/10。

相比国内大分子药解决方案——国产首个获批的新冠药,腾盛博药(2137.HK)安巴韦单抗/罗米司韦单抗注射疗法来看,该联合疗法由安巴韦单抗1000毫克和罗米司韦单抗1000毫克组成,共计2000毫克,其单人份定价也在1万元人民币以内。

在海外同类产品中,一般采取政府采购的模式,每人份在1500-2000美元区间,相比来说国内定价在10000元以内较为便宜。但在国内,相对小分子药,价格仍然相对偏高。

探营真实生物,阿兹夫定片的争议与希望

巴韦单抗/罗米司韦单抗联合疗法

仅在价格这一点上,相比辉瑞的Paxlovid和腾盛博药的安巴韦单抗/罗米司韦单抗注射疗法,阿兹夫定具有相当的优势。

04 背后合作方

以辉瑞的Paxlovid最后代理权落在中国医药(600056.SH)的案例来看,作为潜在国产首个获批的口服特效药,阿兹夫定也有很大可能被列为国家战略储备物资。
一旦审批通过,阿兹夫定的商业化环节操作者,大概率会落在央企、国企范围内。

获批在即,潜在获批对象之一的阿兹夫定,成为众多企业争相合作的“香饽饽”。多家企业均与真实生物达成了合作,争取能分一杯羹。

今年4月26日,新华制药(000756.SZ)率先披露与真实生物签署《战略合作协议》的消息。

新华生物将成为阿兹夫定等产品在中国、及双方同意的其他国家的产品生产商和经销商。消息发布后,新华制药连续8个交易日一字涨停。

探营真实生物,阿兹夫定片的争议与希望

新华制药股价走势,来源:同花顺iFind

新华制药隶属国有背景的华鲁控股集团医药板块,是中国第一家化学合成制药企业,公司在销售渠道和销售经验储备相当丰富。

5月8日,华润双鹤(600062.SH)发布公告称,其与真实生物在北京签署了《战略合作协议》及《阿兹夫定片委托加工生产框架协议》。

协议规定,双方将利用各自人才储备、研发技术等优势,进行新产品、新技术和新工艺的研发合作,推动真实生物创新研发产品落地。

同时借助华润双鹤的营销网络,提升真实生物产品在各终端的医疗覆盖,发展渠道增值业务。

消息发布后,华润双鹤连续两日一字涨停。

探营真实生物,阿兹夫定片的争议与希望

华润双鹤股价走势,来源:同花顺iFind

另外,做原料药起家的奥翔药业(603229.SH)亦发布公告称,旗下全资子公司已就阿兹夫定片的加工生产与河南真实生物科技有限公司签订了《委托加工生产框架协议》和《药品委托生产质量协议》。

此后三个交易日奥翔药业连续上涨,其中两个交易日涨停,5月10日股价以86.53元收盘,创历史新高。

探营真实生物,阿兹夫定片的争议与希望

奥翔药业股价走势,来源:同花顺iFind

早在2020年10月和2021年8月,真实生物就已获得外部资金支持,完成两轮融资,其中B轮融资1亿美元,由倚锋资本、盈科资本领投,迪赛诺、亚商资本、富强金融跟投。

融资资金将用于产品研发、临床项目注册和已获批上市的全球首个双靶点抗艾滋病1类新药阿兹夫定的商业化拓展等。

05 市场争议

真实生物历史股东和关联企业信用瑕疵问题,是资本市场对真实生物能否顺利过审的疑虑之一。

天眼查APP显示,2012年河南真实生物科技有限公司在河南平顶山注册成立,北京兴宇中科投资有限公司及王朝阳(原实控人,已于2018年卸任高管)、王琳(现任真实生物法人代表、执行董事兼总经理)等8位自然人曾是真实生物的股东。

历经几次股权变更,2020年10月,所有股东将真实生物的全部股份转让给香港公司Genuine Biotech HK Limited,注册资金从最初155万变更为1000万,后2021年12月增资至8亿元人民币。

Genuine Biotech HK Limited股权结构暂无法穿透。

探营真实生物,阿兹夫定片的争议与希望

股权结构图,来源:天眼查APP

在真实生物成立之前,王朝阳于2009年创立北京兴宇中科投资有限公司,2009年至2011年又分别成立、投资了河南照邦置业公司和河南朝阳置业公司。

而王朝阳本人和这几家公司有部分股东被列为失信被执行人,并被限制高消费,企业本身或所投资的企业,也被列入失信企业名单。

探营真实生物,阿兹夫定片的争议与希望

原实控人王朝阳,来源:天眼查APP

探营真实生物,阿兹夫定片的争议与希望

历史股东北京兴宇中科投资,来源:天眼查APP

探营真实生物,阿兹夫定片的争议与希望

原实控人关联公司河南照邦置业,来源:天眼查APP

探营真实生物,阿兹夫定片的争议与希望

原实控人关联公司河南照邦置业大股东,来源:天眼查APP

探营真实生物,阿兹夫定片的争议与希望

原实控人关联公司河南朝阳置业,来源:天眼查APP

而真实生物现任法人代表、执行董事兼总经理王琳,所担任高管的部分企业,也被列为失信公司和限制高消费企业。

探营真实生物,阿兹夫定片的争议与希望

法人代表王琳,来源:天眼查APP

历史股东及其关联方企业,相继列为失信被执行人等,是否影响真实生物的阿兹夫定通过审批,成为投资者最为关心的问题。在某种程度上,或许可以参考国家食品药品监督管理局的规定。

根据国家食品药品监督管理局《药品安全信用分类管理暂行规定》,药品、医疗器械生产、经营企业和研制单位,被分为守信、警示、失信、严重失信四个等级。

确定药品安全信用等级的原则,主要标准是否有因违反药品、医疗器械监督管理法律、法规和规章等而被处以刑事或者行政处罚;辅助标准是以违法行为情节的轻重和主观过错的大小。

国家食品药品监督管理局对一年内无违法违规行为的企业,认定为守信等级,给予优先行政审批、审核手续的政策支持;对被认定为警示、失信或者严重失信等级的,采取防范、提示、加强日常和专项监管等措施予以惩戒。

根据天眼查APP,真实生物公司有六起作为被告的民事法律诉讼,其中有三起劳务合同纠纷、两起建筑工程施工合同纠纷和一起买卖合同,大部分判决结果显示,原告已撤诉或被告不承担责任。

探营真实生物,阿兹夫定片的争议与希望

真实生物作为被告涉诉案件,来源:天眼查APP

行政处罚等方面,2020年真实生物因违反税收管理规定受到行政处罚,罚款4000元;以及因2015年未按规定提交年度报告信息而被列入企业经营异常名录。

探营真实生物,阿兹夫定片的争议与希望

真实生物行政处罚等,来源:天眼查APP

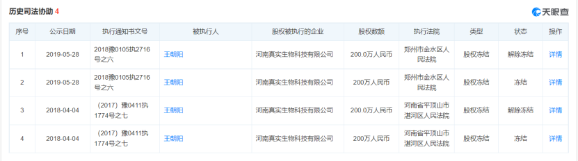
历史股东王朝阳持有的真实生物股权,部分曾于2018年和2019年被冻结,随后皆解除冻结。

探营真实生物,阿兹夫定片的争议与希望

王朝阳股权曾被冻结后解除,来源:天眼查APP

尽管原股东和相关企业有严重失信的问题,但真实生物公司在一年内并未违反《药品安全信用分类管理暂行规定》的相关规定,属于守信的等级,依照上述规定,仍可获得优先的行政审批、审核手续的政策支持。

目前,新一轮新冠疫情持续爆发,多点蔓延,国内迫切急需一款性价比高、且自主可控的特效药。

相较于Paxlovid存在转阴后复阳等问题的隐忧,作为Paxlovid “平替”的阿兹夫定,在中国、巴西、俄罗斯及巴基斯坦等20亿人口的地区、以及印度和其他亚非拉人口密集地区,一旦顺利上市,将拥有广阔的前景。

阿兹夫定片是否能如预期一般,首批通过国家药品监督管理局药品审批中心(CDE)的上市技术评审,成为我国第一款口服新冠治疗药物?无论结果如何,都值得关注。

发表评论
留言与评论(共有 0 条评论) “”
   
验证码:

相关文章

推荐文章