华为金融物管类“花瓣支付”商标申请获批

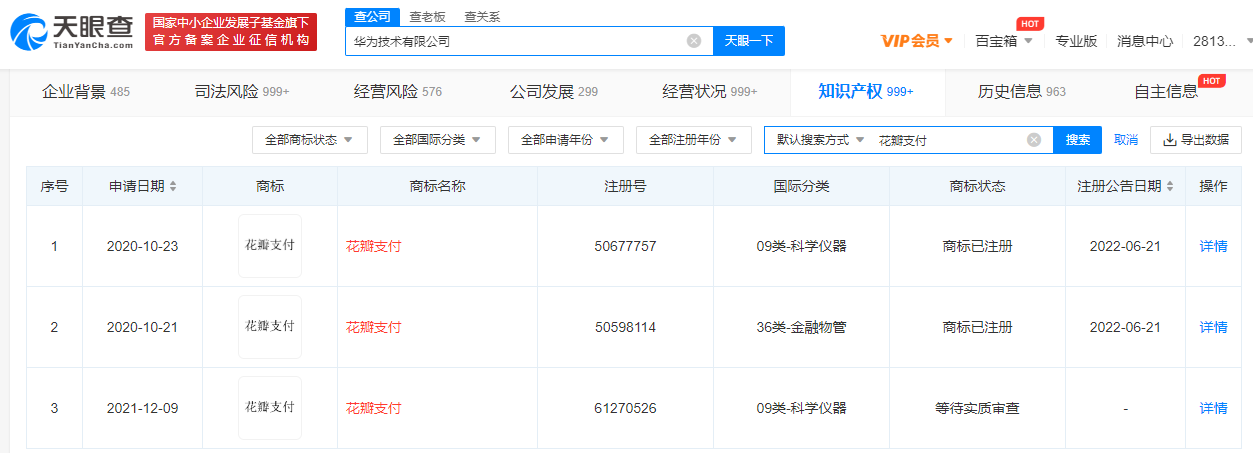
天眼查App显示,近日,华为技术有限公司申请的两枚“花瓣支付”商标进度变更为“已注册”,两商标申请于2020年10月,国际分类为金融物管、科学仪器。此外,华为于2021年12月申请的科学仪器类“花瓣支付”商标,目前该商标状态为等待实质审查。

华为金融物管类“花瓣支付”商标申请获批
发表评论
留言与评论(共有 0 条评论) “”
   
验证码:

相关文章

推荐文章