转型失败求诸医疗AI,易联众的平台梦能照进现实吗?

转型失败求诸医疗AI,易联众的平台梦能照进现实吗?

本文系深潜atom第522篇原创作品



2022年7月16日,易联众在厦门召开了“2022人工智能生态大会暨易联众AI产品发布会”,并推出了“智鼎天宫AI平台”。发布会上,易联众号称该平台在十几年前就开始布局,可比肩国内头部AI厂商。


看到这里,我不禁有个小小的疑问。如今,人工智能技术和产品已经走进千家万户,号称布局良久的易联众为何现在才推出产品,这多少显得有一些跟不上节奏。


7月20日,在易联众AI平台刚刚发布不久,另外一个消息让其再次回到大众视野。证监会网站发布了对微医集团(浙江)有限公司及其法人代表的行政处罚决定书,在对微医持股易联众信息披露违法违规行为进行立案调查、审理后,监管机构对微医合计处以3030万元罚款,对廖杰远个人处以8万元罚款。尽管这次处罚,与易联众关系并不大,但被卷入行政处罚终归不是多么光彩的事情。


2015年,张曦大肆收购易联众股票,入主这家医疗公司。曾经风光无二的易联众,在张曦的带领下开启了举步维艰的转型,但大力推动的新业务发展并不顺利,张曦似乎接受失败并开始躺平,屡次套现。如今,再次归来的易联众,重新押宝医疗AI,“智鼎天宫”能够拯救易联众吗?





01

内忧不断


成立于2000年的易联众,在医保、医疗和社保信息化等领域有着众多成就,比如曾研发全国第一张金融社保IC卡,比如打造全国第一个民生信息服务云计算平台。医疗保障业务、健康医疗业务、民生服务业务是易联众的基石


2010年,易联众成功登陆股市。但业务并未有明显提升,在商业化上,易联众一直都有不小的困境,在2015年张曦接手之前,易联众的营收并未超过5亿人民币。2015年,张曦耗资10.69亿元控股12.79%股份正式成为易联众的新掌门人,随着张曦的入主,易联众也开启了转型之路。


毕业于厦门大学国际贸易系的张曦,在接手易联众之前有丰富的金融和地产领域的从业经验。在接手易联众后,张曦决定带领易联众走出第二曲线,先后在2015年底和2016年成立厦门易联众商业保理有限公司、厦门易联众融资租赁有限公司


随着易联众的转型,公司的营收出现了明显的提升,并且在2020年一度突破10亿大关,但是其现金流却并未随着增长。2015年到2012年,易联众期末现金及现金等价物余额分别为3.451亿、4.056亿、3.258亿、4.444亿、4.258亿、2.363亿。此外,2016年后易联众的扣非净利润几乎都为负数,2021年更是交出了归属净利润-1.09亿、扣非净利润-1.37亿的成绩单。


金融业务都存在一定的风险,比如保理业务开展中存在的风险主要是保理业务的付款方不能按时付款,卖方不能及时对保理债权进行回购的信用风险。易联众的金融业务不但是个无底洞,更是引起了深交所的高度关注。2019年,深交所发出《关于对易联众信息技术股份有限公司的半年报问询函》,针对易联众存货、商业模式、应收账款、实控人股份质押等多重问题提出问询


2017年到2019年应收账款分别高达6.83亿、7.4亿和5.15亿。据《财经国家周刊》报道,保理公司与多家有不良信用记录的公司开展商业保理业务合作,导致期末应收保理款出现多起逾期。2021年,易联众对于经营过程中长期挂账、催收无结果的部分应收账款进行清理,全额计提坏账2.27亿


2016年后,易联众的营收开始飞速发展,营收分别为5.15亿、6.26亿、7.3亿、9.49亿、10.51亿和8.71亿。不过,业务依然高度依赖民生服务行业,2021年,易联众营收8.7亿,其中民生服务行业贡献8.3亿,贡献了95.4%的营收;2021年,保险经纪行业贡献3928万。可见,尽管易联众转型的梦想存在,但并未被照进现实。


为了更好控制公司 ,提高话语权,自2015年起,张曦不停买入易联众股票,一度持股高达29.97%。但随着易联众转型的不利,张曦开始减持股票,截至发稿日,张曦持股16.17%。易联众的股票也一路走低,截止发稿日,易联众股价仅为6.64元/股,相比较张曦接盘时的19.44元/股,下滑超过65%。


转型失败求诸医疗AI,易联众的平台梦能照进现实吗?

△易联众股票


2019年,微医举牌易联众,一时间为医疗和医保的深度融合提供了巨大的想象空间,也有一些项目落地,但最终并未出现1+1>2的现象。现在的易联众急需破局。




02

AI是出路吗


易联众寻求的这个破局点便是医疗AI。在易联众角度,自身有足够的大数据研究方面积累和沉淀,这是易联众做医疗AI的先天优势。从基于Windows XP系统出发的定制软件及IC产品,换赛道至尖端的人工智能,这种跳跃式的研发产出,让人意外无比,似乎又在情理之中。


在易联众角度,自身有足够的大数据研究方面积累和沉淀,这是易联众做医疗人工智能的先天优势。这种跳跃式的研发产出,让人意外无比,似乎又在情理之中


在医疗AI的布局上,易联众的野心并不小,一连推出多款应用和产品。“智鼎天宫AI平台”囊括了包括知识图谱、人脸识别、图像识别、视频分析、自然语言处理等AI能力于一体的众多人工智能技术,并且基于此推出了智能视频监管、智能客服、智能导诊、医疗票据识别、精准推荐、智能分析盒子、AI一体机、政策仿真和综合决策等一系列AI衍生软件服务及软硬结合产品。产品服务场景民生应用、商业保险、养老机构等场景。


转型失败求诸医疗AI,易联众的平台梦能照进现实吗?

△AI产品


易联众号称产品准确率极高,媲美顶级头部AI企业。易联众分出精力做的产品,都和其他企业几十亿、几百亿的投入效果相当了,这些人工智能头部企业不需要“检讨”吗?用刷比赛的效果对比别人大范围落地的效果,不去考虑其他现实干扰,又是否合理呢?行业内肯定见仁见智。


2021年,易联众的研发费用为1.86亿,同比增加16.36%;但其中1.8亿的支出用于职工薪酬,真正用于产品研发的经费仅有6百万。另外,根据公开数据显示,易联众共有1498名研发人员,但看似庞大的研发团队中硕士仅有45名。


作为科技类公司,多数科创板公司将超过50%的研发费用用于发放职工薪酬,而硕士及以上学历人员占比往往高于20%。基于人工智能研发的复杂性和困难性,易联众是否有研发如此复杂平台和众多技术的能力,这点需要打个问号。此外,易联众推出了众多智能硬件,不足6百万的研发投入是否能够支撑得起这么多硬件产品呢?又或者硬件成本不计入研发呢?


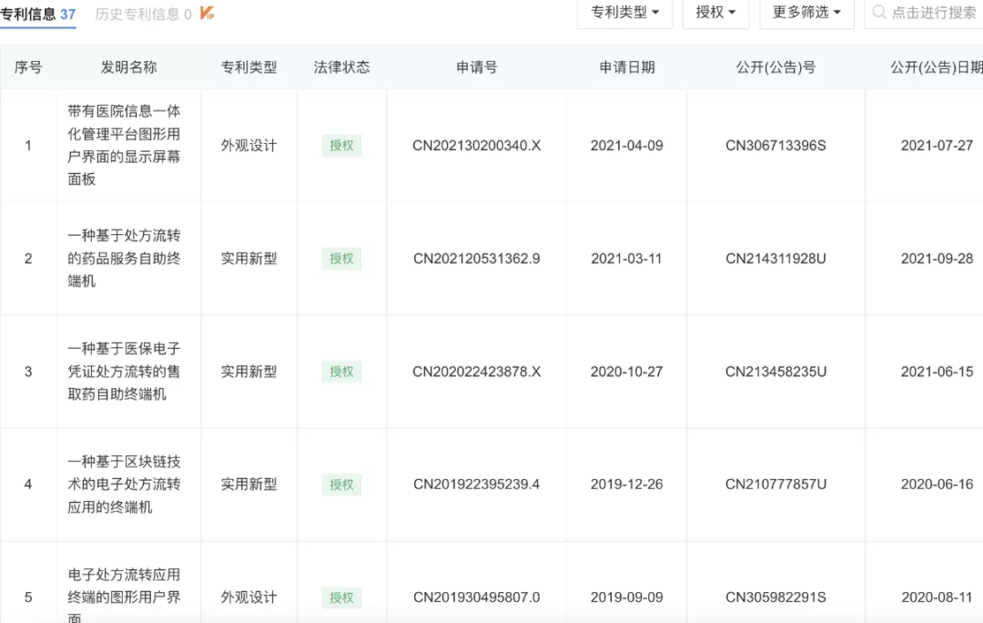
易联众号称,基于“智鼎天宫AI平台”已经申请了60多项专利。但2021年,易联众仅取得发明专利4项,实用新型专利3项。在企查查平台查看整个公司授权专利仅为37条,其中2021年仅两条授权专利,分别是《一种基于处方流转的药品服务自助终端机》《一种基于医保电子凭证处方流转的售取药自助终端机》,其他人工智能产品,似乎并无专利支撑。其他专利依然并未获得批准,若无专利作为技术壁垒,易联众技术方向似乎也很难有保证。毕竟在医疗市场,每一个赛道都不缺乏跟随者。


转型失败求诸医疗AI,易联众的平台梦能照进现实吗?

△专利信息


早年间,医疗信息化行业粗放发展,对于患者的信息保护有限。2015年,谷歌旗下DeepMind与伦敦Royal Free NHS基金信托合作,从NHS获取160万份临床医疗数据,并基于此展开研究。2022年,DeepMind可能会因并未获得患者同意而被集体起诉,这也引发了对滥用健康数据的担忧。随着《中华人民共和国数据安全法》的实施,医疗信息的存取和利用被高度重视。不知道易联众的大数据分析,是否取得患者授权了呢?此外,在接下来的数据利用,也将会更加困难。


如今,医疗和金融都进入了数字化和智能化时代,对于产品的运营和营销都需要全新的思维,对于易联众的技术和综合竞争力提出了更高的要求。对于企业管理者的要求更加严苛,目前张曦依然肩负众多其他公司的职责,很难全心全力管理易联众。2021年,易联众销售费用仅为1209.8万,如此低的投入,如何换取AI产品的高销量呢?


金融科技的裹足不前,证明张曦的成功学并不适合易联众;销售的低投入,也似乎透露了易联众在B端和G端销售的“惰性”。在这个新的赛道,易联众似乎优势并不明显,想要实现平台梦的难度并不小。

发表评论
留言与评论(共有 0 条评论) “”
   
验证码:

相关文章

推荐文章