Spirng 循环依赖报错:Is there an unresolvable circular reference?

1:前言

最近在项目中遇到了一次循环依赖报错的问题,虽然解决的很快,但是有些不明白的地方,特此记录。
在此我把 bean 的结构和 注入方式单独拎出来进行演示

1.1:报错提示

Spirng 循环依赖报错:Is there an unresolvable circular reference?

1.2:错误日志

Exception encountered during context initialization - cancelling refresh attempt:
org.springframework.beans.factory.BeanCreationException: Error creating bean with name 'brokenComponent': Injection of resource dependencies failed; nested exception is org.springframework.beans.factory.UnsatisfiedDependencyException: Error creating bean with name 'tubunComponent' defined in class path resource [com/dev/config/sprngcache3/TwConfig.class]: Unsatisfied dependency expressed through method 'tubunComponent' parameter 0; nested exception is org.springframework.beans.factory.UnsatisfiedDependencyException: Error creating bean with name 'denpaComponent': Unsatisfied dependency expressed through field 'tolenComponent'; nested exception is org.springframework.beans.factory.BeanCreationException: Error creating bean with name 'tolenComponent': Injection of resource dependencies failed; nested exception is org.springframework.beans.factory.BeanCurrentlyInCreationException: Error creating bean with name 'tubunComponent':
Requested bean is currently in creation:Is there an unresolvable circular reference?

1.3:stack overflow问题描述

Requested bean is currently in creation: Is there an unresolvable circular reference?

Spirng 循环依赖报错:Is there an unresolvable circular reference?

点击进入 stack overflow 问题描述

1.4:bean 依赖结构

Spirng 循环依赖报错:Is there an unresolvable circular reference?

BrokenComponent:

@Component
public class BrokenComponent {

    @Autowired
    private TolenComponent tolenComponent;
    @Resource
    private TubunComponent tubunComponent;
}

TolenComponent:

@Transactional
@Component
public class TolenComponent {

    @Resource
    private TubunComponent tubunComponent;

}

TubunComponent:

public class TubunComponent {

    private DenpaComponent denpaComponent;

    public TubunComponent(DenpaComponent denpaComponent) {
        this.denpaComponent = denpaComponent;
    }
}

TwConfig:

@Configuration
public class TwConfig {

    @Bean
    public TubunComponent tubunComponent(DenpaComponent denpaComponent) {
        return new TubunComponent(denpaComponent);
    }
}

DenpaComponent:

@Component
public class DenpaComponent {

    @Autowired
    private TolenComponent tolenComponent;
}

除了 tubunComponent 是构造器注入,其他的bean 都是set 注入。
分析bean依赖图可以发现确实是循环依赖的问题。

2:问题分析

由于本人对spring bean 的加载机制不是很清晰,这次特意花了几天时间做了梳理。

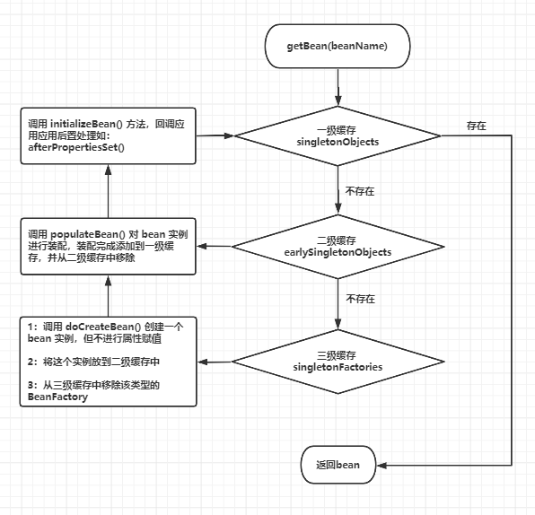
2.1:spring 的 bean 加载过程

Spirng 循环依赖报错:Is there an unresolvable circular reference?

2.2:spring 的三级缓存

Spirng 循环依赖报错:Is there an unresolvable circular reference?

解决了什么问题?

Spirng 循环依赖报错:Is there an unresolvable circular reference?

推荐博客:https://cloud.tencent.com/developer/article/1497692

2.3:Spring 容器加载过程中比较重要的类/属性

类名称

方法

作用

DefaultListableBeanFactory

preInstantiateSingletons

Trigger initialization of all non-lazy singleton beans.../ 触发所有非懒加载的单例bean进行初始化

AbstractBeanFactory

getBean/doGetBean

从容器中获取bean

DefaultSingletonBeanRegistry

getSingleton

从缓存中获取单例实例,没有则走单例的创建流程

DefaultSingletonBeanRegistry

beforeSingletonCreation

创建单例之前会将单例放在set集合(singletonsCurrentlyInCreation)中,有检查bean是否被循环依赖的作用

DefaultSingletonBeanRegistry

beforeSingletonCreation

创建单例之后会将单例从set集合(singletonsCurrentlyInCreation)中移除

AbstractAutowireCapableBeanFactory

createBean/doCreateBean

创建单例bean

AbstractAutowireCapableBeanFactory

populateBean

对bean进行属性赋值(往往是二级缓存中的bean)

AbstractAutowireCapableBeanFactory

initializeBean

对属性赋值之后的bean进行初始化,加载RootBeanDefinition信息,这一步做完才是一个完整的可用的bean

public class DefaultSingletonBeanRegistry extends SimpleAliasRegistry implements SingletonBeanRegistry {

	/** Cache of singleton objects: bean name to bean instance.(一级缓存,存放已初始化完毕的bean) */
	private final Map singletonObjects = new ConcurrentHashMap<>(256);

	/** Cache of singleton factories: bean name to ObjectFactory.(三级缓存,存放未进行过初始化的beanFactory) */
	private final Map> singletonFactories = new HashMap<>(16);

	/** Cache of early singleton objects: bean name to bean instance. (二级缓存,存放已实例化,但未进行装配过属性的bean)*/
	private final Map earlySingletonObjects = new HashMap<>(16);

	/** Set of registered singletons, containing the bean names in registration order.(存放已注册了的单例集合 = singletonObjects.size + earlySingletonObjects)*/
	private final Set registeredSingletons = new LinkedHashSet<>(256);

	/** Names of beans that are currently in creation.(存放正在被创建的实例,用于检查是否有循环依赖) */
	private final Set singletonsCurrentlyInCreation = Collections.newSetFromMap(new ConcurrentHashMap<>(16));

        ....
}

2.4:注册后处理器->BeanPostProcessor

作用:对通过 BeanFactory 创建的 bean 进行属性填充。

这是AbstractAutowireCapableBeanFactory#populateBean 方法中的某一段代码:

for (BeanPostProcessor bp : getBeanPostProcessors()) {
	if (bp instanceof InstantiationAwareBeanPostProcessor) {
		InstantiationAwareBeanPostProcessor ibp = (InstantiationAwareBeanPostProcessor) bp;
		PropertyValues pvsToUse = ibp.postProcessProperties(pvs, bw.getWrappedInstance(), beanName);
		if (pvsToUse == null) {
			if (filteredPds == null) {
				filteredPds = filterPropertyDescriptorsForDependencyCheck(bw, mbd.allowCaching);
			}
			pvsToUse = ibp.postProcessPropertyValues(pvs, filteredPds, bw.getWrappedInstance(), beanName);
			if (pvsToUse == null) {
				return;
			}
		}
		pvs = pvsToUse;
	}
}

我打出了所有要进行轮询校验的 BeanPostProcessor

Spirng 循环依赖报错:Is there an unresolvable circular reference?

brokenComponent 中有两个bean:

一个是通过@Resource 注解注入的,一个是通过@Autowire 进行注入的,奉劝各位同学千万不要两种混用啊!!!


2.4.1:CommonAnnotationBeanPostProcessor

/**
 * ... 
 *

The central element is the {@link javax.annotation.Resource} annotation * for annotation-driven injection of named beans, by default from the containing * Spring BeanFactory, with only {@code mappedName} references resolved in JNDI. * The {@link #setAlwaysUseJndiLookup "alwaysUseJndiLookup" flag} enforces JNDI lookups * equivalent to standard Java EE 5 resource injection for {@code name} references * and default names as well. The target beans can be simple POJOs, with no special * requirements other than the type having to match. * *

The JAX-WS {@link javax.xml.ws.WebServiceRef} annotation is supported too, * analogous to {@link javax.annotation.Resource} but with the capability of creating * specific JAX-WS service endpoints. This may either point to an explicitly defined * resource by name or operate on a locally specified JAX-WS service class. Finally, * this post-processor also supports the EJB 3 {@link javax.ejb.EJB} annotation, * analogous to {@link javax.annotation.Resource} as well, with the capability to * specify both a local bean name and a global JNDI name for fallback retrieval. * The target beans can be plain POJOs as well as EJB 3 Session Beans in this case. * ... */ public class CommonAnnotationBeanPostProcessor extends InitDestroyAnnotationBeanPostProcessor implements InstantiationAwareBeanPostProcessor, BeanFactoryAware, Serializable { ... @Override public PropertyValues postProcessProperties(PropertyValues pvs, Object bean, String beanName) { InjectionMetadata metadata = findResourceMetadata(beanName, bean.getClass(), pvs); try { metadata.inject(bean, beanName, pvs); } catch (Throwable ex) { throw new BeanCreationException(beanName, "Injection of resource dependencies failed", ex); } return pvs; } }

通过翻译及反复debug验证,这个类将对某个bean中所有被 @Resource 注解修饰的属性进行填充。


2.4.2:AutowiredAnnotationBeanPostProcessor

/**
 * {@link org.springframework.beans.factory.config.BeanPostProcessor} implementation
 * that autowires annotated fields, setter methods and arbitrary config methods.
 * Such members to be injected are detected through a Java 5 annotation: by default,
 * Spring's {@link Autowired @Autowired} and {@link Value @Value} annotations.
 *
 * 

Also supports JSR-330's {@link javax.inject.Inject @Inject} annotation, * if available, as a direct alternative to Spring's own {@code @Autowired}. * ... * @see Autowired * @see Value */ public class AutowiredAnnotationBeanPostProcessor extends InstantiationAwareBeanPostProcessorAdapter implements MergedBeanDefinitionPostProcessor, PriorityOrdered, BeanFactoryAware { ... @Override public PropertyValues postProcessProperties(PropertyValues pvs, Object bean, String beanName) { InjectionMetadata metadata = findAutowiringMetadata(beanName, bean.getClass(), pvs); try { metadata.inject(bean, beanName, pvs); } catch (BeanCreationException ex) { throw ex; } catch (Throwable ex) { throw new BeanCreationException(beanName, "Injection of autowired dependencies failed", ex); } return pvs; } }

这个类将对某个bean中所有被 @Autowire@Value 注解修饰的属性进行填充。


2.4.3:@Autowire VS @Resource

1:无论使用@Resource 还是 @Resource,都不影响bean的初始化顺序。

2:@Resource修饰的属性 要优先于 @Autowire修饰的属性 进行初始化。

2.5:报错流程

1: getBean("brokenComponent") -> getSingleton("brokenComponent") -> beforeSingletonCreation("brokenComponent") -> createBean("brokenComponent") -> 

addSingletonFactory("brokenComponent") ->  inject() ->

2: getBean("tubunComponent",TubunComponent.class) -> getSingleton("tubunComponent") -> beforeSingletonCreation("tubunComponent") -> 

3:getBean("twConfig") -> getSingleton("twConfig") -> beforeSingletonCreation("twconfig") -> addSingletonFactory("twConfig") -> afterSingletonCreation("twConfig")

4:getBean("denpaComponent") -> getSingleton("denpaComponent") -> beforeSingletonCreation("denpaComponent") -> createBean("denpaComponent") ->

addSingletonFactory("denpaComponent") -> inject() ->

5:getBean("tolenComponent") -> getSingleton("tolenComponent") -> beforeSingletonCreation("tolenComponent") -> createBean("tolenComponent") ->

addSingletonFactory("tolenComponent") -> inject() ->

6:getBean("tubunComponent",TubunComponent.class) -> getSingleton("tubunComponent") -> beforeSingletonCreation("tubunComponent") -> 报错

7:afterSingletonCreation("tolenComponent") -> afterSingletonCreation("denpaComponent") -> afterSingletonCreation("tubunComponent") -> afterSingletonCreation("brokenComponent")

可以看到 tubunComponent 进行了两次 getSingleton,经过循环依赖检查的时候报错了。


2.6:错误流程分析归纳

1:Spring 容器先加载 brokenComponent 这个 bean。

2:brokenComponent依赖了tubunComponent(@Resource修饰),因此优先填充 tubunComponent,因此去初始化tubunComponent 这个bean,并将tubunComponent 存放在 DefaultSingletonBeanRegistry.singletonsCurrentlyInCreation 集合中。

3:tubunComponent依赖了depenComponent,因此去初始化depenComponent 这个bean,并将depenComponent 存放在 DefaultSingletonBeanRegistry.singletonsCurrentlyInCreation 集合中。

4:depenComponent依赖了tolenComponent,因此去初始化depenComponent 这个bean,并将tolenComponent 存放在 DefaultSingletonBeanRegistry.singletonsCurrentlyInCreation 集合中。

5:tolenComponent依赖了tubunComponent,因此去初始化tubunComponent 这个bean,然而当将tubunComponent 存放在 DefaultSingletonBeanRegistry.singletonsCurrentlyInCreation 集合中时发现 tubunComponent 已经存在了,
从而判断这几个bean 产生了循环依赖并跑出异常。


beforeSingletonCreation(String beanName) 方法源码:

/**
 * Callback before singleton creation.
 * 

The default implementation register the singleton as currently in creation. * @param beanName the name of the singleton about to be created * @see #isSingletonCurrentlyInCreation */ protected void beforeSingletonCreation(String beanName) { if (!this.inCreationCheckExclusions.contains(beanName) && !this.singletonsCurrentlyInCreation.add(beanName)) { throw new BeanCurrentlyInCreationException(beanName); } }


2.7:解决方式

1:使用@Lazy 修饰。

2:这其实是一个操作不当造成的问题,因为spring的三级缓存已经解决了set注入导致的循环依赖,而这几个bean并不是全部都是使用构造器注入。

在 brokeComponent 中使用@Autowired修饰了tolenComponent,又用@Resource 修饰了tubunComponent,
导致tubunComponent要优先于tolenComponent优先加载,而tolenComponent 又依赖了tubunComponent,因此报错。
我们只需要让tolenComponent 优先于 tubunComponent 优先加载就可以了。

实验证明:

1:@Resource 修饰 tolenComponent + @Resource 修饰 tubunComponent 的组合不会报错。
2:@Resource 修饰 tolenComponent + @Autowired 修饰 tubunComponent 的组合不会报错。
3:@Autowired 修饰 tolenComponent + @Autowired 修饰 tubunComponent 的组合不会报错。

偏偏使用了会报错的一种组合......

报错   there   Is
发表评论
留言与评论(共有 0 条评论) “”
   
验证码:

相关文章

推荐文章