
中新经纬8月15日电 (董文博)秦皇岛港总价值60亿元的铜精矿,竟被第三方运走!这一事件引发了热议,到底发生了什么?30万吨的铜精矿为何会失踪?秦港股份方面进行了回应。
“无义务征得货主同意”
15日早间,秦港股份(秦皇岛港股份有限公司)发布澄清公告称,近日关注到有媒体报道秦皇岛港铜精矿违约事件:8月1日前后,13家货主总价值60亿元的30万吨铜精矿被第三方刘宇无单运走。13家货主委托中国秦皇岛外轮代理有限公司、秦皇岛外代物流有限公司等两家货代公司做报关、货物仓储等工作;货代公司与本公司签署港口作业合同。
秦港股份表示,经初步核实:
一是公安机关已对该事件进行立案调查;
二是公司未参与此项贸易纠纷,公司亦未作为被告方进入诉讼程序;
三是公司作为港口企业提供港口作业服务,与货代公司签订两方合同,根据货代公司指令出入库,无义务进一步核实实际货主身份并征得货主同意;
四是货代公司与公司所属同一控股股东河北港口集团有限公司,但两货代公司与本公司无股权关系,刘宇亦与公司无关系。

来源:秦港股份公告
对于该事件,投资者和网友们议论纷纷。
在股吧中,有投资者表示:“已经无语了!管理实在太乱了”“我真是服了,公司的管理,别说港口的一线管理,在消息面,舆论新闻应对管理也混乱的一批”。
也有投资者表示:“现在货主都开始规划不走秦皇岛港了”。
还有投资者提问:“这种拿客户的货物做自己生意的,该怎么处理?”“有没有法律界人士这种事我们广大股民要怎么维权”。

来源:股吧
在微博,有网友表示:“没有货主的同意,外代敢放货?告死他”“30万吨。。。你不说我还以为30公斤拿个编织袋就背走了呢”。
有网友称:“靠别人的货利用市场价格时间差赚差价,没想到这次市场崩了,只能说活该,但是无单放货会造成很大的信任危机”“这对港口海运物流和仓库监管都是巨大的‘信任危机’,本来海运就已经很难了”。

来源:微博
关键人物:刘宇
在撇清关系的同时,秦港股份公告中还提到了一个人:刘宇。
作为该事件中的关键人物,秦港股份在公告中表示,总价值60亿元的30万吨铜精矿是被刘宇无单运走;刘宇与公司无关系。
据介绍,这30万吨铜精矿共有13家货主,委托中国秦皇岛外轮代理有限公司(下称秦皇岛外轮代理)、秦皇岛外代物流有限公司(下称秦皇岛外代物流)两家货代公司做报关、货物仓储等工作。这两家公司与秦港股份签署了港口作业合同。
天眼查APP股权穿透图显示,秦皇岛外轮代理为秦皇岛外代物流母公司,持股比例100%,两公司法定代表人为均为张大勇。秦皇岛外轮代理和秦港股份是同一控股股东——河北港口集团有限公司,该公司目前法定代表人、董事长、执行董事为曹子玉,最终实控人为河北省国资委。
据第一财经援引涉事贸易商相关负责人称,发现货物出事后,相关各方召开了质询会,货代公司对相关情况做了一些说明,承认在未取得货主放货指令情况下无单放货。
据货主反映,在质询会上,刘宇自称是他及关联方给货代公司下达了放货指令,货代公司也承认在没有各方货主的指令下将货物放走了。有贸易商负责人表示,刘宇自认与秦皇岛外代物流一起进行无单放货的行为长期存在,秦皇岛外代物流在现场未予否认。
而对于正常的放货流程,货主称,按照跟秦皇岛外代物流的合同规定,货主通过指定的联系人电子邮件发出加盖货主公司放货专用章的放货通知书,货代公司在收到后需立即回传确认相关信息的真实性,并验明提货人员的身份情况,方可给提货人办理提货手续。
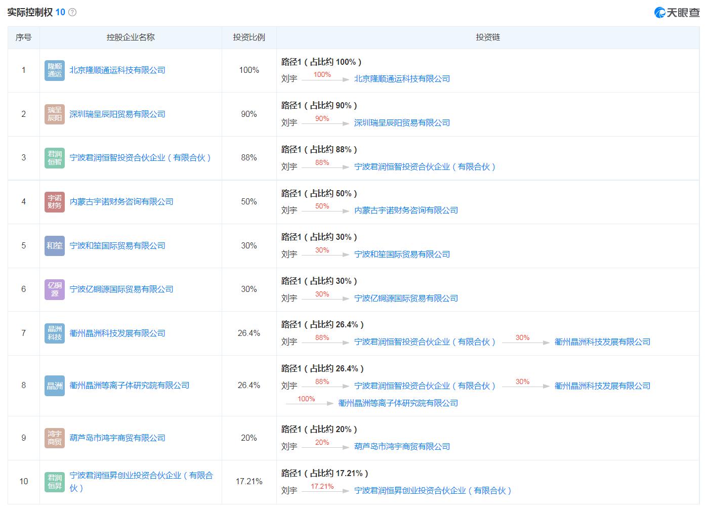
据天眼查APP,刘宇名下拥有10家公司实际控制权,其中,宁波和笙国际贸易有限公司(下称宁波和笙)被指涉及此次铜精矿事件,为“提货方”。

来源:天眼查
天眼查APP显示,宁波和笙成立于2018年5月,经营范围包括自营和代理各类货物和技术的进出口业务;金属材料、矿产品、化工原料及制品(不含危险化学品)、五金交电、建筑材料、普通机械设备、电子产品的批发、零售。刘宇持有该公司30%股份。
另据报道,葫芦岛瑞升商贸有限公司(下称葫芦岛瑞升)也是此次事件中的“提货方”之一。天眼查股权穿透图显示,葫芦岛瑞升成立于2011年5月,此前在2018年9月12日,该公司法定代表人、执行董事兼总经理刘宇退出,前者同期变更为目前的崔磊,后者在2021年3月5日变更为崔磊。
不过,葫芦岛瑞升旗下控股公司秦皇岛和瑞科技有限公司,目前法定代表人正是刘宇,该公司经营范围包括有色金属、矿产品、建材、未列入危险化学品名录的其他化工产品、环保设备及配件的销售;货物及技术进出口等。
刘宇在质询会上承认,宁波和笙、葫芦岛瑞升通过秦皇岛外代物流,实施无货主指令提取货物进行转卖的行为。
对此,“V观财报”先后致电宁波和笙、葫芦岛瑞升公开的电话,截至发稿均无人接听。
这批货物最终卖给了谁?能否追回?资金流向了何处?货代公司在此次事件中扮演了什么角色?……仍需公安机关和相关机构查明。(中新经纬APP)
(文中观点仅供参考,不构成投资建议,投资有风险,入市需谨慎。)
中新经纬版权所有,未经书面授权,任何单位及个人不得转载、摘编或以其它方式使用。
关注中新经纬(jwview)官方微信公众号获取更多精英的财经资讯。
| 留言与评论(共有 0 条评论) “” |