
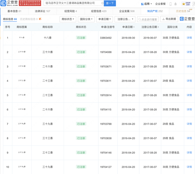
苹果2022秋季新品发布会于今日凌晨召开,此次主题为“超前瞻”,iPhone 14系列共有四款新机在发布会上亮相。企查查APP显示,“十四香”商标早在2002年被王守义注册,申请人为驻马店市王守义十三香调味品集团有限公司,国际分类为方便食品,另外网友还发现王守义甚至注册了“三十九香”的商标。
截至目前,王守义公司已成功注册“十二香”至“十八香”商标,以及“二十三香”“二十六香”“三十六香”“三十九香”商标,国际分类多为方便食品、食品。


有网友笑称“这是怎样一种未卜先知”。也有网友表示,王守义好像从十三香注册到了三十九香,主要是怕假冒产品的出现。
(企查查)
编辑:赵珊珊
| 留言与评论(共有 0 条评论) “” |